Illustrated Natural Philosophy

The charm of 19th century scientific illustrations

Consider the picture below: would you guess it has illustrated one of Charles Dickens’s novels –- or a physics textbook?

Illustration from “Natural Philosophy for general readers and young persons”

If you chose the physics book, you’re right. After all, the picture shows the use of an Ear Trumpet, an acoustical instrument that is clearly based on the application of physical principles!

Obviously, it’s an old book, right from Dickens’s time… today, alas,  physics books don’t show pictures of ear trumpets — or of electronic hearing aids either, for that matter. Even if they did, they’d show a photo of the tool, not this charming little tableau of how it’s used in real life.

My father, who was a physics professor, had a large bookcase of textbooks spanning the entire 20th century. Scanning them, anyone can see the immense progress in our understanding of the cosmos that quantum mechanics, relativity and atomic physics have brought. Fewer people may pay attention to the changing nature of the illustrations in those books.

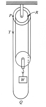
Take these two illustrations. Both come from college textbooks: the first from the 6th edition of Ernst Grimsehl’s Lehrbuch der Physik, published in Berlin in 1923; the other from A.P. French’s MIT Introductory Physics series, dated 1971. Both show somewhat similar pulley systems, yet what a difference in style! The older book uses realistic wood engravings of real life objects; the newer goes for simplified schematics of the underlying physics.
   

Illustration from Grimsehl’s Lehrbuch der Physik
Illustration from the MIT Introductory Physics series

The engravings in many older science books are a thing of beauty. This is very evident in an old book in my library: “Natural Philosophy for general readers and young persons”, which was published in New York in 1872. This is a translation of Ganot’s “Cours élémentaire de physique”. It contais 405 illustrations, a few of which I will share with you here.

Ganot’s book goes to extremes in applying realistic illustration: it uses ornate images to illustrate even the most basic physical laws, where a schematic would be just as effective. Like these:

Dig the whip in the baby’s hand, and the cute zephyr blowing on the sail! Or these simpler ones:

Things get more interesting where complex apparatus are described (somehow, these older books seem to put more effort into explaining how various machines and day-to-day devices work; perhaps their audience’s sense of wonder hasn’t become jaded like ours). Here the engravings do an excellent job; better, probably, than photographs, which tend to add too much extraneous detail. The images below show a liquor still and a “Universal Discharger” (note the Electric Battery, an array of Leyden jars connected in parallel).

And here is a true marvel: an “Electromagnetic machine”, which is a no less than a crude electric motor powered by Zinc-Acid batteries. This contraption, unlike today’s motors, is an electromagnetic analog of a steam engine: two electromagnets drive two iron blocks (the one in front, marked P, is visible in the drawing) into a reciprocating linear motion, which is converted to rotary motion of the big flywheel via connecting rods driving a crankshaft — just like the wheels were driven on a steam locomotive! The flywheel then drives, through a belt, two water pumps. Unfortunately, as M. Ganot explains, since the Zinc and Acid cost far more than the equivalent steam power, there is no expectation that such machines “can be applied at all advantageously” unless a cheaper source of electricity is discovered…

Electromafnetic machine - Illustration from “Natural Philosophy for general readers and young persons”

Some of the great experiments in the history of Science are also shown; below we have von Guericke’s Magdeburg hemispheres, Galvani’s famous frog legs, and Volta’s battery.

But the most engaging illustrations in this book are those that, inadvertently, give us a glimpse of the lifestyles, fashions and technologies of their period. Like these, which illustrate physical principles with images as diverse as a rainbow, a sundial equipped with a cannon that fires at noon, a “portable Camera Obscura”, a “Speaking trumpet”, a “Speaking tube”, and a reflective lake.

There is even a balloonist, whose hydrogen-filled balloon comes equipped with a parachute. However, M. Ganot asserts, “Air balloons can only be truly useful when they can be guided, and as yet all attempts made with this view have completely failed”…

Balloon with parachute - Illustrations from “Natural Philosophy for general readers and young persons”

 And here are some details from other drawings in the book, illustrating people from diverse walks of life, each demonstrating one physical point or another:

Illustrations from “Natural Philosophy for general readers and young persons”

Lastly, the question needs to be asked: are the older illustrations merely quaint in retrospect, or do they have some inherent advantage?  Should we add pictures of real people (in modern dress, of course), using real objects, to our physics books today?

Having studied from modern books, I can confirm that you can learn all about the physics of friction using drawings like the simplified schematic shown below. Still… look at the illustration beside it: here, you can almost feel the friction of the rough stone sliding on the ground, and the effort the man pulling the rope is putting into overcoming it.

The schematic serves to identify the angles and forces, but leaves them entirely abstract; Grimsehl’s engraving conveys the context in a tangible instance of this abstraction. There are pros and cons to either approach; personally, I think the best deal would be to use both: give the real life image, and next to it the equivalent schematic. For students in their first year or two this would make the correlation between theory and practice clearest, and make the books more lively as well. Not that anybody asked for my opinion…

P.S. In case you wondered: Adolphe Ganot (1804-1887) was a French teacher of physics and mathematics, whose textbooks were very popular in Europe during the second half of the 19th century and the early 20th. You can read about him here.

P.P.S. You can enjoy a scan of a rather similar popular physics book by Ganot, with many of these illustrations and then some, here.

Leave a Comment